在线留言网站地图收藏铂锐联系铂锐

欢迎来到铂锐(上海)汽车科技有限公司官网! 专注提供汽车维修车间的规划设计、汽修设备工具配套供应及服务!

汽车维修车间整体解决方案提供商一站式汽车维修设备工具配套供应

服务热线:400-139-1969
17717926395

铂锐助力汽修店提升运营与工作效率

科吉ARTIGLIO 50拆胎机轮胎拆卸说明

返回列表 来源: 发布日期: 2021.09.22 浏览次数:2000

一、技术参数:

拆胎机采用230V-0.75KW50Hz/60Hz电源,8-9.5bar气压作为动力,可载包括轮胎重量310KG的轮胎,可操作轮胎寸范围数据为轮毂直径12”-30”、最大轮胎直径47”、最大轮胎宽度15”;装盘装置上的定位原件为椎体式元件,动力系统采用双速马达,旋转扭矩1100N,速度在7-18rpm之间;该设备搭载轮胎提升架,提升架为自动提升手动倾斜,动力采用气动驱动,可提升重量85KG;工作稳定,操作便捷。

图片4

二、轮胎拆卸:

1、使用轮胎支撑架:

将轮胎放到轮胎支撑架上,踩下轮胎支撑架起升踏板F1,将轮胎升起,在轮胎与拆胎机转盘同一高度时停止并将轮胎放倒在转盘上,再踩支撑架下降踏板F2,将支撑架降下,拆胎机转盘上有一个突出的点,将轮胎钢圈的其中一个螺丝孔卡在突出的点上。

图片1

2、固定轮胎:

拆胎机配有夹具,将夹具从钢圈中间的孔放下去,到底后顺时针旋转夹具螺杆到拔不出来为止,然后将夹具上的椎体卡件向着轮胎中心向下放到与钢圈中心贴合,然后旋转夹具上的手柄将钢圈锁紧,然后将轮胎的气放完。

3、开始压胎:

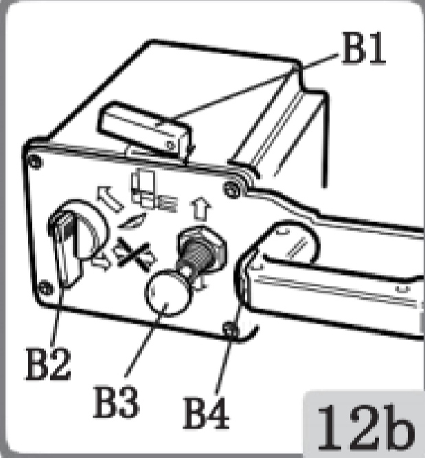
按下压盘换向开关,将压胎装置调整在轮胎上方并检查是否锁紧,按下转向总成控制按钮B4,将压盘转至工作位置,旋转压盘位置开关B2至释放键,将压盘拉出至轮毂的外边缘,向下按下压盘垂直运动开关B3,将压盘向下放到与轮毂水平,再次调整压盘与轮毂外边缘水平距离2-5mm,锁上B2,向下按下B3,使压盘将轮胎下压几毫米停止,按下压盘前顶按钮B1(不松),使压盘慢慢内切到轮毂内部,此时踩下转盘旋转踏板,一边间歇性的按下B3,使压盘向下,一边旋转转盘,在此阶段要在轮胎与压盘接触的地方涂抹润滑膏,当轮胎与轮毂彻底分开时可停止操作,移除压盘。然后调整压胎臂到轮胎下方,压盘距离在压胎时已调好,不用重复调整,向上按下压盘垂直运动开关使压盘按压轮胎几毫米后按下亚盘前顶开关B1,使压盘切到轮胎与轮毂的间隙中,然后一边踩转盘旋转踏板旋转轮胎,一边上抬压盘再一边涂抹润滑膏,将轮胎与轮毂分离后松开各按键,下降压胎臂,然后操作按键将压胎臂收回轮胎上方。

图片2

4、拆胎:

按鸟头臂控制开关将拆胎头移动到所需要工作的区域,通常需要挤压轮胎使得鸟头有足够的空间放到轮胎里面。 要让鸟头紧紧贴住轮毂的边缘,再通过按鸟头位置开关C2来锁紧鸟头。锁紧后鸟头会在水平和垂直的方向保持和轮毂有一定得间隙,用压胎盘压下轮胎,使得鸟头有足够的空间放到外胎与轮毂之间的缝隙,然后边挤压边低速旋转,使外胎与轮毂脱离,检查鸟头是否已经在轮毂边缘,按鸟头控制开关,使鸟头将轮胎边缘勾起,此时不能转转盘,勾起后旋转转盘使外胎脱离轮毂。脱离后可移开鸟头,拆轮胎下面时可直接用压盘用人工辅助将轮胎拆除。

图片3

咨询热线

400-139-1969